700ZQB-125立式軸流泵效果-南京蘭江泵業有限公司
    
        

    1. 
          
      <pre id="oepg_z8px_moh59v"></pre>
    2. 産品列表PRODUCTS LIST

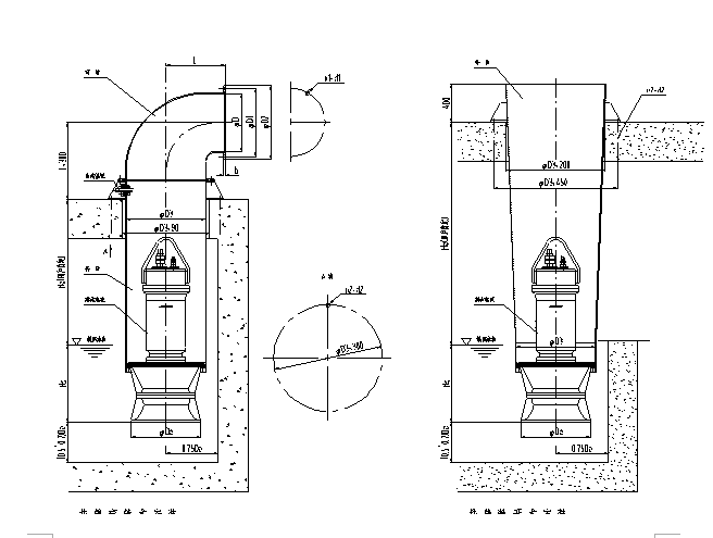
      700ZQB-125立式軸流泵效果

      簡要描述:

      700ZQB-125立式軸流泵效果,自制線模要合:嵌線要正确。要嵌好一相後,再嵌另一相,使端部形成“三層平面",端部必須包紮牢固,防止在裝配時劃傷。

      分享到: 1
      在線留言
      700ZQB-125立式軸流泵效果

      ZB型軸流式潛水電泵和QHB型混流式潛水電泵是傳統的分體式水泵—電動機機組的更新換代産品,水泵機組與電機同軸一體,驅動水泵的電機爲幹式全封閉潛水三相異步電動機,該👽型潛水電泵可長期浸入水中運行,擁有🔞良好的密封絕緣效果,擁有傳統水泵機組效率的同時,還有傳統産品不可比拟的節約能耗及降低初始投資的優點。

       

      700ZQB-125立式軸流泵效果 懸臂式潛水軸流泵需要掌握的維護和保養;
      1、檢查潛水軸流泵管路及結合處有無松動現象。用🧜🏼‍♂️手轉動污👼🏾水泵,試看污水泵是否靈活。
      2、向軸承體内加入軸承潤滑機油,觀察油位應在油标的中心線💫處,潤滑油應及時更換或補充。
      3、關好出水管路的閘閥和出口壓力表及進口真空表。
      4、點動電機,試看電機轉向是否正确。
      5、開動電機,當污水泵正常運轉後,打開出口壓力表和👋進口真空☠️泵視其顯示出适當壓力後,逐漸打開閘閥,同時檢查電機負荷。
      6、定期檢查電泵電動機相對地間絕緣電阻,其值不😁得低于2MΩ,否🧛🏽則應拆機檢修,中泉同時應檢查接地是否可靠牢固,電纜表皮是否破裂等。
      7、擰下污水泵泵體的引水螺塞,灌注引水(或引漿)。
      8、自制線模要合:嵌線要正确。要嵌好一相後,再嵌另一相,使👨🏻‍🏭端部形成“三層平面”,端部必須包紮牢固,防止在裝配時劃傷。
      9、要調整好“限位螺釘”的位置,調整時要認真仔細,做倒轉子轉動自如,并且空載電流爲小的狀态。然後一定要将鎖緊螺母🧎🏻‍♀️‍➡️擰緊。
      10、接頭的防水絕緣要處理好,接頭處剝去護套及絕緣層,并清除銅線表面的漆層、氧化層,絞接後錫焊。然後清除掉尖角、毛刺及焊液,用聚乙烯帶半疊包6層,再用縧綸膠😌粘帶半疊包2層,作爲機械保護層。 700ZQB-125立式軸流泵效果

       

       軸流泵,潛水軸流泵,管道泵

      成品圖:

      發貨圖:

      購前須知:

      聯系人
      在線客服
      掃碼關注我們
      用心服務 成就你我
        
            

        1. 
              
          <pre id="oepg_z8px_moh59v"></pre>