污泥回流泵
簡要描述:
污泥回流泵/硝化夜回流泵/污泥回流比/作用是在德國潛水👀電機生産技術基礎上自行研發的 産品♌️,該泵爲二級污水處理廠混合液回流、反硝化脫氮😸的 設備🛀🏼。亦可用于地面排水、灌溉和廢水處理 過程中再循環等需要微揚程、大流量的 場所。
産品使用範圍:
QJB-W型硝化液回流泵、污泥回流泵是南京蘭江水處理設備有限公🧛🏽司在潛水攪拌機生産技術基礎上開發的✍🏻新型産品👼🏾,該泵~爲二級污水處理廠混合液回👽流、反硝化脫氮的設備,亦可以用于地👻面排水時抽淨化水;灌溉和控制水道系統;廢水處理過程中再😺循環或泥漿抽吸回路中需要微揚程、大流量場所👧🏾。
使用條件:
1、連續運行時,介質溫度不高于40℃;
2、介質PH值爲6-9。
3、大潛沒深度10m。
型号表示方法:
結構簡介:
專門設計的裝置部件和設備備件使污泥回流泵達到🥑️佳性😁能。
1、電纜:電纜采用特制水密電纜;
2、接線盒:接線盒是全封閉的,與周圍液體和定子箱是隔離的;
3、電機:50Hz鼠籠式3相潛水異步電動機,F級絕緣,防護等級IP68。電😁機由👨🦰周圍㊙️介質冷卻;
4、軸:電動機的軸采用不鏽鋼材料制作,轉子作動平衡試驗;
5、密封:靜密封爲O型密封圈。軸密封爲機械密封,将油室與周圍介質隔離;
6、軸承:采用軸承,設計使用壽命可達100,000小時以上;
7、油室:油用于潤滑和冷卻機械密封摩擦副,并隔離滲透液;
8、葉輪:葉輪有三枚葉片,葉片寬而薄,表面光滑呈後掠👌式,高效⛹🏻♀️、無阻運轉,且具有自清功能;
9、錐管:錐管的目的是爲了形成好的流動狀态;
10、排出接頭:排出接頭用于将錐管固定在出水管上;
11、引導裝置:引導裝置由兩根管子(導管)和上方導管👩🏿❤️💋👨🏽夾具所組成。
産品特點:
1、按低揚程、大流量專門設計,效率高;
2、抗堵塞、纏繞,使用可靠;
3、采用新的密封材料,可以安全連續運行10000小時以上;
4、結構緊湊,安裝維修方便;
5、主機采用沖壓成形結構,體積小,精度高,耐腐蝕無🧜🏼♀️噪音🧑🏽❤️💋🧑🏻;
6、内設漏電漏水及電機過載保護(報警)裝置,确保産品👩🍼安🙉全與可靠。
主要性能參數:
性能曲線:
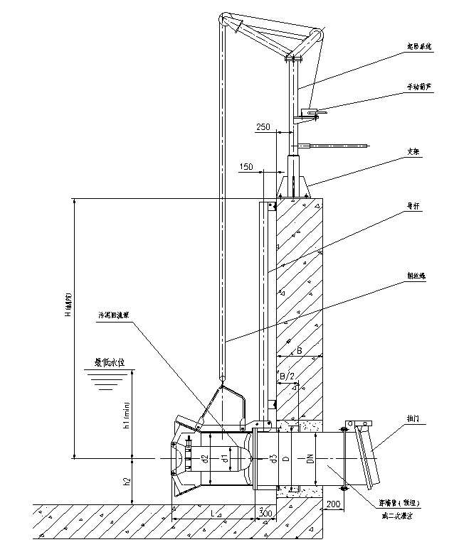
安裝:
1. 正确安裝使用是該泵能長久、正常運轉的基本保😸證。
2. 采用自動耦合安裝系統,不用任何機械拆卸便可迅~速提升設備進行檢查和維護,安裝方便快捷。
3. 本設備除穿牆管需要預埋外,導杆、起吊架均用鋼…膨🧜🏼♀️脹螺栓🤶🏾與池體連接,不需要預埋件。
4. 預埋件和拍門由用戶采購安裝,用戶定購時應該注🧛🏾♀️意。
産品安裝尺寸:
安裝示意圖:
選型詢價
需提供功率多少?流量、揚程是多少?要不要穿牆管和拍門?材質🏊🏿♀️要求?